Bài viết Hướng dẫn đào hố móng cầu nâng cắt kéo xếp 2 tầng
- cầu nâng cắt kéo xếp 2 tầng là sản phẩm để nâng hạ xe gồm có 2 bàn cầu nâng 2 bên để nâng phần bụng xe, trọng lượng của xe rất lớn và người thao tác làm việc luôn ở dưới gầm xe nên hố móng cầu nâng cực kì quan trọng liên qua tới tính mạng người và tài sản…
- Sau đây thì dichvukythuat.net xin Hướng dẫn đào hố móng cầu nâng cắt kéo xếp 2 tầng cho 75 % cái loại cầu nâng xếp có mặt tại thị trường Việt Nam . Bài viết này bao gồm hình ảnh bản vẽ cầu nâng. hướng dẫn thi công đào hố và video chi tiết
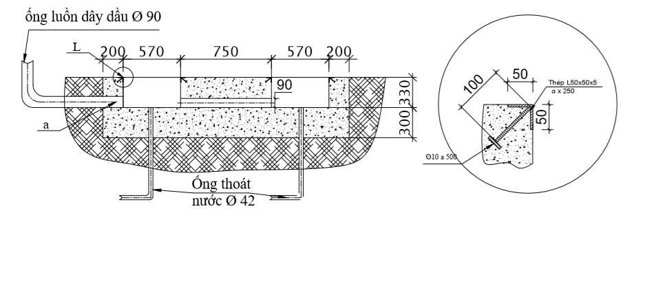
1. Bản vẽ cầu nâng cắt kéo nâng bụng xếp 2 tầng



2. Hình ảnh thực tế khi đào hố móng cầu nâng










3. Video hố móng hoàn thiện sau khi đổ bê tông và chuẩn bị lắp ráp
4. Các lưu ý cực kì lưu ý khi Hướng dẫn đào hố móng cầu nâng cắt kéo xếp 2 tầng
Yêu cầu kỹ thuật:
- Bề mặt 2 móng phải đồng phẳng(độ dốc =0%), khi đổ bê tông cần cân nước để đảm bảo độ phẳng .
- Bê tông móng trụ cầu mác 200~250,không đan sắt thép
- Trần nhà xưởng cao tối thiểu ít nhất 4.0 mét. (có thể thấp hơn hoặc cao hơn tuy loại cầu nâng )
- Nguồn điện 3 pha hoặc 1 pha, mô tơ 2,2kw, yêu cầu bên bán
- Cáp điện 1 hoặc 3 pha 4 dây đồng,4×4.0mm2 dây điện kéo tới chân cột mô tơ
- Nguồn khí nén đầu cái hơi áp 8kg tới 10kg chờ sẵn
- Thời gian lắp cầu tối thiểu là 5 tới 10 ngày sau khi đổ bê tông.
- Gọi Dichvukythuat.net để được tư vấn thêm
Tham khảo thêm các dịch vụ bên dichvukythuat.net
Tham khảo hình ảnh các sự cố cầu nâng do hố móng và nhiều vấn đề khác
Tham khảo cầu nâng cắt kéo mới



Nhận xét bài viết!